Пружинные блоки предназначены для надежного и безопасного крепления, поддержки и компенсации вибраций стальных трубопроводов на энергетических и промышленных объектах, таких как АЭС и ТЭЦ. Они обеспечивают устойчивость систем к тепловым расширениям и механическим нагрузкам.
Использование качественных пружинных блоков повышает долговечность и безопасность трубопроводов, снижает износ и минимизирует риск аварийных ситуаций. Это ключевой элемент для безаварийной эксплуатации ответственных объектов.
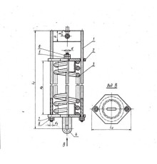
Мы предлагаем широкий ассортимент продукции, включая опорные и подвесные пружинные блоки, сдвоенные блоки, а также все необходимые комплектующие: винтовые цилиндрические пружины, диски, кольца, полукольца, стаканы, траверсы с тягами. Все изделия соответствуют строгим стандартам качества.
