- НаличиеВ наличии
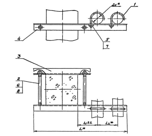
Крепления двух трубопроводов к колонне предназначены для надежной фиксации и поддержки парных инженерных коммуникаций в промышленных, гражданских и жилых зданиях. Они обеспечивают стабильность системы, предотвращают смещение и вибрацию, что особенно важно для объектов с высокими эксплуатационными нагрузками.
Использование данных креплений позволяет равномерно распределить вес труб, значительно увеличивая срок службы всего трубопровода и снижая риск аварийных ситуаций. Это надежное и практичное решение для монтажа систем отопления, водоснабжения и вентиляции.
Изделия изготавливаются из высокопрочной стали с антикоррозионным покрытием, что гарантирует их долговечность и устойчивость к воздействию агрессивных сред. Конструкция рассчитана на длительную эксплуатацию в самых суровых условиях.
Мы предлагаем широкий выбор моделей для труб различных диаметров (18, 25, 32, 38, 45, 57, 76, 89, 108, 133, 157) и высот (220, 260, 330 мм). Доступны различные марки, включая 0312.35.00.000 и его модификации, что позволяет подобрать оптимальное решение для любого технического задания.
Нет отзывов об этом товаре.
Пока нет вопросов об этом товаре. Станьте первым!
